Fanimation Ceiling Fan Remote Programming

Jy1004 Ceiling Fan Remote Controller Transmitter User Manual Model Jy1004 With Light Function Fanimation

Jy1004 Ceiling Fan Remote Controller Transmitter User Manual Model Jy1004 With Light Function Fanimation

Ce10307 Ceiling Fan Remote Controller Transmitter User Manual Chungear Industrial

Ce10307 Ceiling Fan Remote Controller Transmitter User Manual Chungear Industrial

Ce10207 Ceiling Fan Remote Controller User Manual Fanimation

Ce10207 Ceiling Fan Remote Controller User Manual Fanimation

Ce10408 Ceiling Fan Remote Controller Transmitter User Manual Chungear Industrial

Ce10408 Ceiling Fan Remote Controller Transmitter User Manual Chungear Industrial

Rh787t Transmitter Of Remote Control User Manual Rhine Electronics

Rh787t Transmitter Of Remote Control User Manual Rhine Electronics

Fanimation Jy1004 Ceiling Fan Remote Controller Transmitter User Manual Model Jy1004 With Light Function

Fanimation Jy1004 Ceiling Fan Remote Controller Transmitter User Manual Model Jy1004 With Light Function

Fanimation Jy1004 Ceiling Fan Remote Controller Transmitter User Manual Model Jy1004 With Light Function

Blitz fanimation pylon fanimation integrated led matte white ceiling fan jy1004 ceiling fan remote controller frequency on a ceiling fan remote fanimation fans tr3 accessory 4 5.

Fanimation ceiling fan remote programming.

Its nine blades feature a high fashion rectangular shape that adds unique style to your home. An affiliate advertising program designed to provide a. Fanimation controls come in a variety of shapes and sizes from handheld remotes to wall controls fanimation provides you the most options of any brand so that you can decide what control is right for you when you balance between how many options you want your remote to have and how much you want to spend on a control. Fanimation fans are the perfect fusion of beauty and functionality.

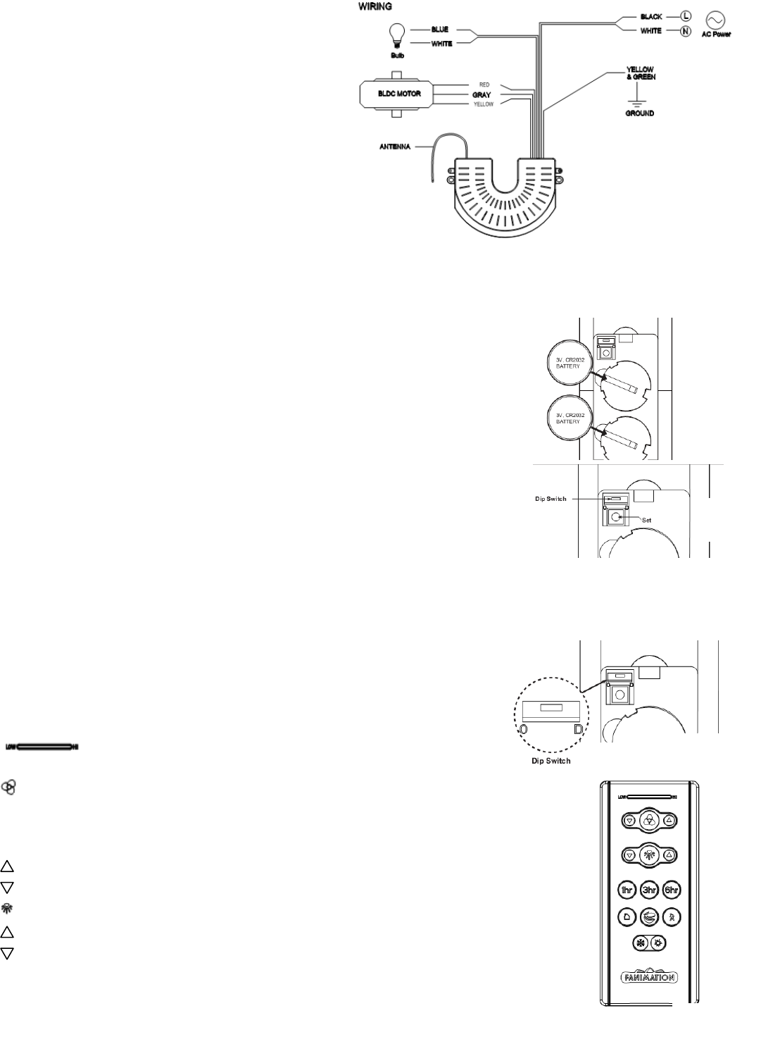
Use a pen to slide the buttons to match the receiver s frequency. Energy information at high speed. With designs for every style and technology driven controls for your convenience fanimation fans inspire your home. Place back panel and remote back.

Here s a list of current fanimation ceiling fan manuals. Restore power to your ceiling fan. To program your remote. The most price conscious controls for both wall and handheld remotes have the ability to adjust fan speeds and light kits with standard switches.

One of the benefits of a fanimation ceiling fan is the availability of extra parts and replacement remotes. Fanimation s focus is producing creative and functional fans that provide ultimate personal comfort using the latest technology for energy efficiency and seamless control. All fanimation fans can use remotes except for the. What blades are recommended for fans that are designed for damp locations.

Eogifee universal ceiling fan remote control and receiver kit replacement of hampton bay harbor breeze hunter fan 53t 2aazpfan 53t kit. Can any fanimation fans be operated by a remote control. There s plenty of styles and models to choose from. Here s a video that shows just how simple this can be.

Verify settings are correct by turning ceiling fan on off. Six energy efficient speed settings plus a reverse air flow feature make it easy to maintain the ideal comfort level all year long and the remote control allows you to operate the fan and light from anywhere in the room. Turn of the mains power supply unscrew the fan s canopy and remove the receiver find the dip switches on the receiver then open the battery cover on the replacement remote and find similar dip. Replacing a remote can be as easy as ensuring the remote and fan are on the same frequency.

Match the remote dip switches to those of the receiver screw back the ceiling. Locate and remove the small panel covering your dip switches. You can use the search box to the right to quickly find the fan you re interested in.

Fanimation Victoria Harbor Ceiling Fan Youtube

Fanimation Victoria Harbor Ceiling Fan Youtube

Owner S Manual Fanimation

Owner S Manual Fanimation

How To Install Fanimation Fansync Universal Bluetooth App Enabled Receiver Delmarfans Com

How To Install Fanimation Fansync Universal Bluetooth App Enabled Receiver Delmarfans Com

Chungear Co Ce10408 Ceiling Fan Remote Controller Transmitter User Manual

Chungear Co Ce10408 Ceiling Fan Remote Controller Transmitter User Manual

Source : pinterest.com